膠球清洗裝置,空調膠球清洗裝置安裝使用介紹?膠球清洗裝置,空調膠球清洗裝置節能清洗系統是一種效高質優的清除換熱器水垢設備,是近年來換熱器的“理想搭檔”。膠球清洗裝置廠家宏琦電力生產的膠球清洗裝置安裝,為企業帶去換熱器除垢的明星設備!膠球清洗廠家宏琦電力技術人員通過對換熱器出水口徑及系統壓力等情況測量了解,制定針對方案,方案經甲方確認后,項目實施后。
膠球清洗裝置,空調膠球清洗裝置是一種在制冷機組運行時,通過物理辦法自動在線清洗冷凝器換熱管內壁的設備。通過對橡膠球體的噴注和回收,實現周期清洗換熱管道。安裝該系統,可以減少水處理藥劑的使用量,同時提高機組的制冷效率,節約電能。
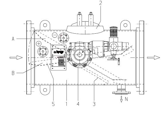
膠球清洗裝置,空調膠球清洗裝置系統安裝使用介紹:
1、發球器固定在混凝土基礎上(未在基礎上固定的不予保修),按安裝示意圖要求接管路,不能接錯。
2、需在冷水機組冷凝器(蒸發器)入水口前設置過濾孔徑2mm的過濾器,且過濾網有效過濾面積大于連接管道截面積的3倍以上,確保過濾器的水阻合理。
3、在過濾器后的冷凝器進水管靠近端蓋處開孔DN50,接通發球器的發球口,管路上裝DN50全通徑球閥,即閥芯孔不小于Φ50mm。DN50全通徑球閥盡量靠近冷凝器進水管安裝。
4、在冷凝器出水管路上安裝收球器,應在冷凝器出水管一出端蓋就裝收球器,收球器DN50法蘭出口接通發球器收球口,管路上裝DN50全通徑球閥,盡量靠近收球器安裝。