膠球清洗裝置凝汽器系統優化收球率技術結構分析
膠球清洗裝置凝汽器系統優化收球率技術結構分析,在總結經驗和參照德國、日本樣機的基礎上優化設計了凝汽器膠球清洗裝置。其收球率達96%以上,而且水阻小、結構合理、運行安全可靠。
凝汽器工作的好壞對汽輪機的安全、經濟運行影響極大。為了提高凝汽器的工作效率,保證凝汽器換熱效果,降低端差,采用膠球清洗裝置就是提高凝汽器清潔度和真空度的有效方法之一,是一種提高汽輪機熱效率的節能裝置。
1膠球清洗裝置的基本原理
膠球清洗裝置的基本原理是指在汽輪機不減負荷、正常運行的情況下,由膠球循環泵向正在運行的凝汽器冷卻水中投入一定數量的膠球,借助冷卻水流動的沖力使膠球擠擦通過凝汽器換熱管,將換熱管內壁擦洗干凈,而后由收球網把膠球匯集到清洗循環系統。如此不斷地定時往復清洗,進而保持凝汽器的清潔度和真空度及其相應的熱交換效能,同時還減緩了換熱管內壁的腐蝕,延長其使用壽命。
目前,凝汽器膠球清洗裝置的膠球廣泛采用的是軟膠球。這種膠球用天然橡膠或合成樹脂制作,質地柔軟,富有彈性。由于膠球直徑比換熱管內徑稍大,一般大約1~2mm,因此,冷卻水流的動壓作用下,膠球進入換熱管后被擠壓成橢圓形(圖1)。依靠膠球與管壁接觸環節的擦拭作用,將管壁上的污垢抹下來,并帶出冷卻管外。由于是整圈的擦抹,也把停留在管壁上的靜止水膜破環,從而提高了管子的傳熱效能。
2膠球清洗裝置系統及主要設備
2.1膠球自動清洗系統
凝汽器膠球清洗裝置的自動清洗系統如圖2所示。
1一膠球泵2—裝球室3—冷卻水進口4—膠球室5—換熱管·6—凝汽器后水室7—凝汽器前水室8—冷卻水出口9一收球網
密度與水相近的軟膠球裝入加球室后啟動膠球泵,于是膠球就在比冷卻水壓力略高的水流帶動下進入凝汽器進口水室,隨即同冷卻水混合進入換熱管內。雖然膠球比換熱管內徑大1~2mm,但是由于它是多孔、柔軟的彈性體,故可仍在較小的壓差作用下產生壓縮變形而進入換熱管內腔,并且在其內行進過程中把換熱管內壁抹擦一遍。當膠球沖出換熱管后,它在自身彈力的作用下突然恢復原狀,清除了膠球表面的污垢(即使膠球表面還有附著物,也會在隨水流動中被清除掉),并隨水流向出水口到收球網,在網壁的攔阻及冷卻水的沖帶下,膠球進入網底部。由于膠球泵進水管口接在此處,故膠球在泵的進口負壓的作用下被吸入泵內。膠球在泵內獲得能量后,再次進入加球室重復以上運動,在一定的投運時間內就可達到滿意的效果。
根據汽輪機凝汽器的大小、管道及冷卻水流速的不同,膠球在系統中循環一周的時間一般約為10~30秒。
膠球自動清洗系統主要由二次濾網、膠球泵、收球網、加球室、分配器、閥門、海綿膠球和相應的管道及控制儀表等組成。操縱系統分為電動式(亦可用手動操作)、液動式、氣動式,還有程序控制系統。
2.2收球網
收球網是膠球清洗系統中的關鍵部套。設計上的科學合理性、制造的精確性直接決定著收球率的高低。實際上收球網就是一種安裝在凝汽器冷卻水出口管中的水篦子,能把隨冷卻水流出的膠球回收。收球網的型式和種類較多,如固定式圓錐形收球網,活動式柵格形(蝴蝶形)收球網等,但其收球率均不理想。
2.2.1活動式柵格形收球網
活動式柵格形收球網目前,國內大多數電廠采用這種裝置,它主要由筒體、大網板、小網板、關斷閥和調節閥等組成。運行記錄表明,這種結構的收球網結構復雜、水阻大,積球和夾球嚴重,收球率低,達不到標準規定值,運動中柵網易卡死,調整不方便。
2.2.2倒“V”型柵格式活動收球網
倒“V”型柵格式活動收球網沙角B電廠已引進安裝。運行記錄表明,它水阻小、結構合理、調整方便、收球率比其它電廠的膠球清洗設備提高50%左右,既節約大量能源,又穩定了凝汽器的工況。
3優化型膠球清洗裝置
3.1倒“V”型膠球清洗裝置的優化
1.以沙角B電廠膠球清洗裝置為樣機,對導流機構進行了分析、計算,確定在活動收球網邊緣吻合處的一定位置上設置弧形導流環,其外端至網面保持合理的距離,這樣,不僅使結構簡化,而且避免形成渦流,解決了積球的弊端,大大地提高了系統的收球率。
2.用不銹鋼薄板替代活動收球網原設計的碳鋼柵條,防止銹蝕。收球網側面制成半圓形,且清除可能出現夾球、刮球的不合理結構,不僅水阻小,膠球也不易磨損。
3.板式固定收球網與活動網銜接側向內高起一定尺寸,為固定網的安裝與調整提供了方便。
4.活動柵網反向轉動一合理的角度,改變冷卻水的流向,加強反沖洗的功能。
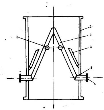
3.2倒“V”型柵格式活動收球網的結構
1-簡體2—活動柵格網3-防渦流板4—收球網板5—出球口6—轉動軸
圖3為活動柵格式倒“V”型收球網,它位于凝汽器冷卻水的出口管道上。當不清洗時,兩活動收球網與冷卻水流動方向平行;當清洗系統運行時,兩活動收球網與殼體筒壁貼合,將投入清洗的膠球從冷卻水中收集到兩側的收球口,進入清洗系統管道,再通過膠球循環泵使膠球在清洗系統中循環工作,而冷卻水則通過收球網上的柵空流向出口。因優化后的活動收球網可以反向轉動一定角度,故可對柵網上的貼掛物進行反沖洗。
收球網的結構應有足夠的強度和剛度,還應保證制造和安裝質量,以免在運行中收球網變形,失去嚴密性,使運行中發生逃球現象。
4影響膠球回收率的因素
回收膠球總數與投入膠球總數之比稱為膠球回收率(簡稱收球率),它綜合反映了膠球清洗裝置的運行狀況和清洗效果。收球率高表示裝置系統運行正常,單位時間內通球.數多,因而清洗效果好。影響膠球回收率的因素有:
1.膠球循環系統設計不合理,造成膠球在系統中滯留;
2.收球網結構不理想,制造質量差,安裝位置和方法不當;
3.凝汽器前、后水室內有死角、盲孔及易產生渦流區,使膠球在此停留而不能參與系統循環;
4.冷卻水質太差,二次濾網未發揮應有的作用,使水草、小木塊及小魚等雜物堵塞換熱管,使膠球無法通過;
5.膠球的規格選用不當,性能和質量不符合要求,且在投膠球時未將膠球內氣體排凈,使膠球懸浮在冷卻水表面;
6.換熱管與管板脹接時不符合圖紙要求,個別管子伸出管板過長,使管板表面不平整,形成部分死區,膠球被卡住;
7.在凝汽器換熱管安裝和檢修過程中,個別管子被撞扁,膠球無法通過;
8.由于水質原因,換熱管內壁結硬垢,使換熱管內徑畸形,膠球不能通過。
公司優化設計的新型膠球清洗裝置發電廠幾年來的投運表明,收球率均在96%以上,而且水阻小、運行安全可靠。